Product Summary
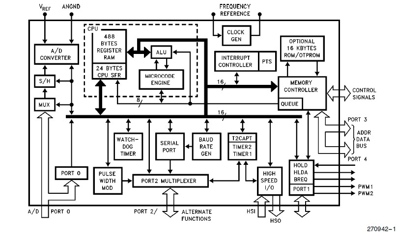
The SB87C51SL 16-bit microcontroller is a high performance member of the MCSÉ 96 microcontroller family. The SB87C51SL is an enhanced 80C196KB device with 488 bytes RAM, 16 and 20 MHz operation and an optional 16 Kbytes of ROM/OTPROM. Intels CHMOS III process provides a high performance processor along with low power consumption. The SB87C51SL is an 80C196KC with 16 Kbytes on-chip OTPROM. The 83C196KC is an 80C196KC with 16 Kbytes factory programmed ROM. In this document, the SB87C51SL will refer to all products unless otherwise stated.
Parametrics
SB87C51SL absolute maximum ratings: (1)Am-ient Temperature Under Bias : -55°C to 125°C; (2)Storage Temperature : -65°C to a150°C; (3)Voltage On Any Pin to VSS: -0.5V to 7.0V; (4)Voltage from EA or VPP to VSS or ANGND: 13.00V; (5)Power Dissipation: 1.5W.
Features
SB87C51SL features: (1)16 and 20 MHz Available; (2)488 Byte Register RAM; (3)Register-to-Register Architecture; (4)28 Interrupt Sources/16 Vectors; (5)Peripheral Transaction Server; (6)1.4 ms 16 x 16 Multiply (20 MHz); (7)2.4 ms 32/16 Divide (20 MHz); (8)Powerdown and Idle Modes; (9)Five 8-Bit I/O Ports; (10)16-Bit Watchdog Timer; (11)Extended Temperature Available; (12)Dynamically Configurable 8-Bit or; (13)16-Bit Buswidth; (14)Full Duplex Serial Port; (15)High Speed I/O Subsystem; (16)16-Bit Timer; (17)16-Bit Up/Down Counter with Capture; (18)3 Pulse-Width-Modulated Outputs; (19)Four 16-Bit Software Timers; (20)8- or 10-Bit A/D Converter with; (21)Sample/Hold; (22)HOLD/HLDA Bus Protocol; (23)OTPROM One-Time Programmable Version.
Diagrams

(Hong Kong)






