Product Summary
The UPD70F3267YGC is a 32-bit single-chip microcontroller. The applications of the UPD70F3267YGC include Low-power portable devices, DVCs, portable audios.
Parametrics
UPD70F3267YGC absolute maximum ratings: (1)Supply voltage: -0.5V to +3.6V; (2)Input voltage: -0.5 to VDD + 0.3V; (3)Clock input voltage: -0.5 to VDD + 0.3V; (4)Analog input voltage: -0.5 to AVDD + 0.3V; (5)Analog reference input voltage: -0.5 to AVDD + 0.3V; (6)Output current, low: 4.0mA; (7)Output current, high: -4.0mA; (8)Output voltage: -0.5 to VDD + 0.5 V; (9)Operating ambient temperature TA: -40℃ to +85℃; (10)Storage temperature Tstg: -65℃ to +150℃.
Features
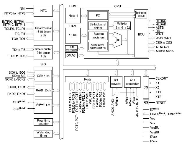
UPD70F3267YGC features: (1)Number of instructions: 83; (2)Minimum instruction execution time: 59ns (@ 17 MHz operation with main system clock (fXX)), 74ns (@ 13.5 MHz operation with main system clock (fXX)); (3)General-purpose registers: 32 bits×32 registers; (4)Instruction set: Signed multiplication, saturation operations, 32-bit shift instructions, bit manipulation instructions, load/store instructions; (5)Memory space: 64 MB linear address space; (6)Memory block division function: 2MB, 2MB, 4MB, 8MB = Total four blocks; (7)External bus interface: 16-bit data bus; (8)Address bus: Separate output enabled; (9)Timer/counters: 16-bit timer: 2 channels, 8-bit timer: 4 channels; (10)Real-time counter (for watch): 1 channel; (11)Watchdog timer: 1 channel.
Diagrams

(Hong Kong)






