Product Summary
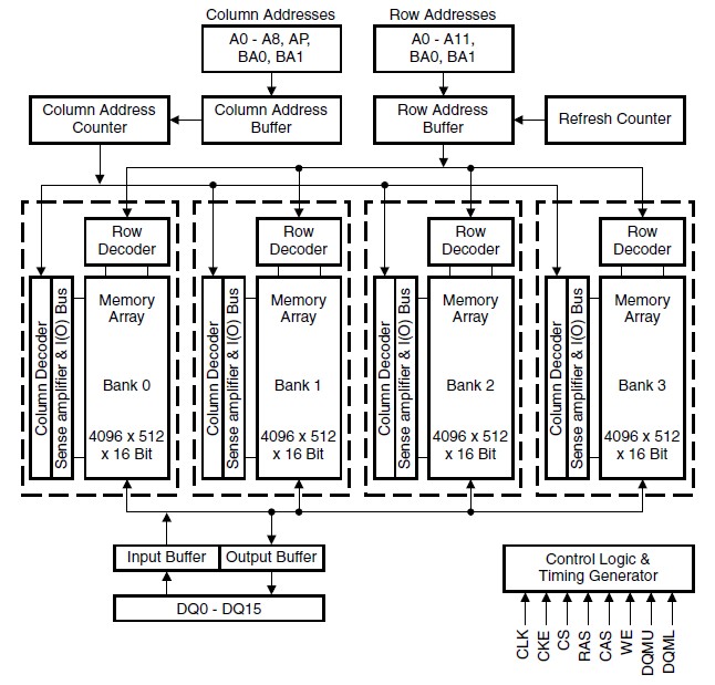
The HYB25L128160AC-8 is a new generation of low power, four bank Synchronous DRAM organized as 4 banks × 2Mbit x16 with additional features for mobile applications. The synchronous Mobile-RAM HYB25L128160AC-8 achieves high speed data transfer rates by employing a chip architecture that prefetches multiple bits and then synchronizes the output data to a system clock. The chip HYB25L128160AC-8 is fabricated using the Infineon advanced process technology.
Parametrics
HYB25L128160AC-8 absolute maximum ratings: (1)Operating Case Temperature Range (commercial): 0 to + 70℃; (2)Operating Case Temperature Range (extended): -25 to + 85℃; (3)Storage Temperature Range: – 55 to + 150℃; (4)Input/Output Voltage: – 0.3 to 9 DD + 0.3 V; (5)Power Supply Voltage 9 DD: – 0.3 to + 3.6 V; (6)Power Dissipation: 0.7 W; (7)Data out Current (short circuit): 50 mA.
Features
HYB25L128160AC-8 features: (1)Automatic and Controlled Precharge Command; (2)Programmable Burst Length: 1, 2, 4, 8 and full page; (3)Programmable Power Reduction Feature by partial array activation during Self-Refresh; (4)Data Mask for byte control; (5)Auto Refresh (CBR); (6)4096 Refresh Cycles / 64ms; (7)Self Refresh with programmble refresh period; (8)Power Down and Clock Suspend Mode; (9)Random Column Address every CLK (1-N Rule).
Diagrams

![]() |
![]() HYB25D128 |
![]() Other |
![]() |
![]() Data Sheet |
![]() Negotiable |
|
||||
![]() |
![]() HYB25D128160AL |
![]() Other |
![]() |
![]() Data Sheet |
![]() Negotiable |
|
||||
![]() |
![]() HYB25D128160AT |
![]() Other |
![]() |
![]() Data Sheet |
![]() Negotiable |
|
||||
![]() |
![]() HYB25D128160CE-5 |
![]() Other |
![]() |
![]() Data Sheet |
![]() Negotiable |
|
||||
![]() |
![]() HYB25D128160CE-6 |
![]() Other |
![]() |
![]() Data Sheet |
![]() Negotiable |
|
||||
![]() |
![]() HYB25D128160CT-6 |
![]() Other |
![]() |
![]() Data Sheet |
![]() Negotiable |
|
||||
(Hong Kong)








