Product Summary
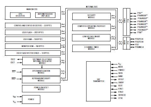
The MC68HC908RF2CFA MCU is a low-cost, high-performance 8-bit microcontroller unit (MCU). Optimized for low-power operation and available in a small 32-pin low-profile quad flat pack (LQFP), this MCU is well suited for remote keyless entry (RKE) transmitter designs. The MC68HC908RF2CFA is based on the customer-specified integrated circuit (CSIC) design strategy.
Parametrics
MC68HC908RF2CFA absolute maximum ratings: (1)Supply voltage, VDD: -0.3 to +3.6 V; (2)Input voltage VIn, VSS: -0.3 to VDD +0.3 V; (3)ESD HBM voltage capability on each pin(2): ± 2000 V; (4)ESD MM voltage capability on each pin(3): ± 150 V; (5)Maximum current per pin Excluding VDD, VSS, PTA7–PTA0, and UHF module pins, I: ±15 mA; (6)Maximum current for pins PTA7–PTA0 IPTA7–IPTA0: ±25 mA; (7)Maximum current out of VSS, IMVSS: 100 mA; (8)Maximum current into VDD, IMVDD: 100 mA; (9)Storage temperature, TSTG: -55 to +150℃.
Features
MC68HC908RF2CFA features: (1)High-performance M68HC08 architecture; (2)Fully upward-compatible object code with M6805, M146805, and; (3)M68HC05 Families; (4)Maximum internal bus frequency of 4 MHz at 3.3 volts; (5)Maximum internal bus frequency of 2 MHz at 1.8 volts; (6)Internal oscillator requiring no external components: Software selectable bus frequencies; ±25 percent accuracy with trim capability to ±2 percent; Option to allow use of external clock source or external crystal/ceramic resonator; (7)2 Kbytes of on-chip FLASH memory; (8)FLASH program memory security(1); (9)128 bytes of on-chip RAM; (10)16-bit, 2-channel timer interface module (TIM); (11)12 general-purpose input/output (I/O) ports:; (12)Six shared with keyboard wakeup function; (13)Two shared with the timer module; (14)Port A pins have 3-mA sink capabilities.
Diagrams

| Image | Part No | Mfg | Description | ![]() |
Pricing (USD) |
Quantity | ||||
|---|---|---|---|---|---|---|---|---|---|---|
![]() |
![]() MC68HC908RF2CFA |
![]() |
![]() IC MCU W/UHF TX 2K FLASH 32LQFP |
![]() Data Sheet |
![]() Negotiable |
|
||||
| Image | Part No | Mfg | Description | ![]() |
Pricing (USD) |
Quantity | ||||
![]() |
![]() MC6800 |
![]() Other |
![]() |
![]() Data Sheet |
![]() Negotiable |
|
||||
![]() |
![]() MC6801 |
![]() Other |
![]() |
![]() Data Sheet |
![]() Negotiable |
|
||||
![]() |
![]() MC68020 |
![]() Other |
![]() |
![]() Data Sheet |
![]() Negotiable |
|
||||
![]() |
![]() MC68020CEH16E |
![]() Freescale Semiconductor |
![]() Microprocessors (MPU) 32-BIT MPU |
![]() Data Sheet |
![]() Negotiable |
|
||||
![]() |
![]() MC68020CEH25E |
![]() Freescale Semiconductor |
![]() Microprocessors (MPU) 32-BIT MPU |
![]() Data Sheet |
![]() Negotiable |
|
||||
![]() |
![]() MC68020CRC16E |
![]() Freescale Semiconductor |
![]() Microprocessors (MPU) 32-BIT MPU |
![]() Data Sheet |
![]() Negotiable |
|
||||
(Hong Kong)











