Product Summary
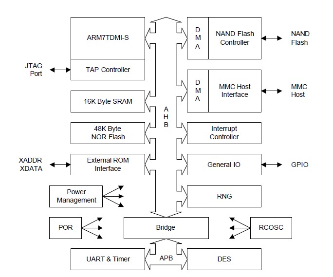
The S3F49DAXZZ 16/32-bit RISC microprocessor would be designed to provide a cost-effective, low power, small die size and high performance micro-controller solution for Low voltage MMC (MultiMediaCard). To reduce total system cost, the S3F49DAXZZ also provides the followings: 16K Byte SRAM, 48K Byte Internal NOR Flash memory, NAND Flash controller, interrupt controller, 2-channel DMA (Direct Memory Access), 3-channel Timer and Analog block including IVC (Internal Voltage Converter), POR (Power-On Reset) and RCOSC (RC Oscillator).
Parametrics
S3F49DAXZZ absolute maximum ratings: (1)VDD Supply voltage: –0.3 to 3.8 V; (2)VIN Input voltage: –0.3 to VDD + 0.3 V; (3)IIN DC input current: –10 UA; (4)TSTG Storage temperature: –40 to 125°C; (5)VDD Supply voltage: 1.65 to 1.95 / 2.7 to 3.6 V; (6)TOPR Operating temperature: –25 to 85°C.
Features
S3F49DAXZZ features: (1)Integrated system for Low Voltage MMC (MultiMediaCard); (2)16/32-bit RISC architecture and powerful instruction set with ARM7TDMI-S CPU core; (3)Internal AMBA (Advanced Micro-controller Bus Architecture, AMBA 2.0); (4)Supports fixed little endian mode.; (5)32/16-bit RISC architecture. (ARM V4T); (6)32-bit ARM instruction set for maximum performance and flexibility; (7)16-bit Thumb instruction set for increased code density; (8)Coprocessor Interface / JTAG debug interface unit.
Diagrams

 (Hong Kong)
 (Hong Kong) 
                         
                        
 
                                    




