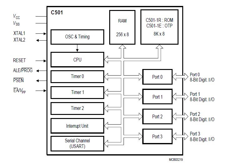
Product Summary
The SAB-C501G-1R24N is an 8-Bit CMOS Microcontroller.
Parametrics
SAB-C501G-1R24N absolute maximum ratings: (1)Ambient temperature under bias (TA): – 40 to 85 °C; (2)Storage temperature (Tstg): – 65 °C to 150 °C; (3)Voltage on VCC pins with respect to ground (VSS): – 0.5 V to 6.5 V; (4)Voltage on any pin with respect to ground (VSS): – 0.5 V to VCC +0.5 V; (5)Input current on any pin during overload condition: – 10 mA to 10 mA; (6)Absolute sum of all input currents during overload condition : I 100 mA I.
Features
SAB-C501G-1R24N features: (1)Versions for 12/24/40 MHz operating frequency; (2)Four 8-bit ports; (3)Three 16-bit timers / counters (timer 2 with up/down counter feature); (4)USART; (5)Six interrupt sources, two priority levels; (6)Power saving modes; (7)Quick Pulse programming algorithm (C501-1E only); (8)2-Level program memory lock (C501-1E only); (9)P-DIP-40, P-LCC-44, and P-MQFP-44 package.
Diagrams

(Hong Kong)






