Product Summary
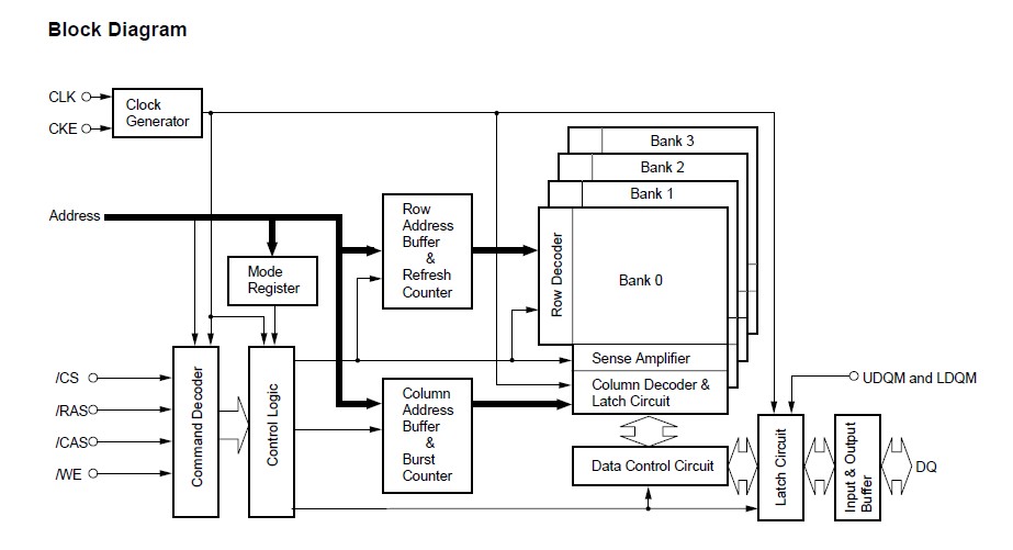
The EDS2516ADTA-75-E is a 256M bits SDRAM.
Parametrics
EDS2516ADTA-75-E absolute maximum ratings: (1)Voltage on any pin relative to VSS VT: -0.5 to VDD + 0.5 (≤ 4.6 (max.)) V; (2)Supply voltage relative to VSS VDD: -0.5 to +4.6 V; (3)Short circuit output current IOS: 50 mA; (4)Power dissipation PD: 1.0 W; (5)Operating ambient temperature TA: 0 to +70 ℃; (6)Storage temperature Tstg: -55 to +125 ℃.
Features
EDS2516ADTA-75-E features: (1)3.3V power supply; (2)Clock frequency: 133MHz (max.); (3)Single pulsed /RAS; (4)6 organization; (5)4 banks can operate simultaneously and independently; (6)Burst read/write operation and burst read/single write operation capability; (7)2 variations of burst sequence Programmable /CAS latency (CL): 2, 3; (8)Byte control by UDQM and LDQM; (9)Refresh cycles: 8192 refresh cycles/64ms.
Diagrams

![]() |
![]() EDS2504ACTA |
![]() Other |
![]() |
![]() Data Sheet |
![]() Negotiable |
|
||||
![]() |
![]() EDS2504APTA |
![]() Other |
![]() |
![]() Data Sheet |
![]() Negotiable |
|
||||
![]() |
![]() EDS2504APTA-TI |
![]() Other |
![]() |
![]() Data Sheet |
![]() Negotiable |
|
||||
![]() |
![]() EDS2508APTA |
![]() Other |
![]() |
![]() Data Sheet |
![]() Negotiable |
|
||||
![]() |
![]() EDS2508APTA-TI |
![]() Other |
![]() |
![]() Data Sheet |
![]() Negotiable |
|
||||
![]() |
![]() EDS2516ACTA |
![]() Other |
![]() |
![]() Data Sheet |
![]() Negotiable |
|
||||
(Hong Kong)








