Product Summary
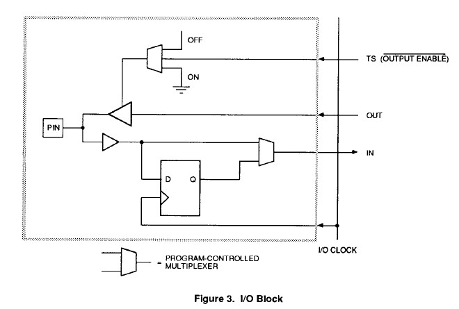
The XC2018-70PC84C is a logic cell array, which is a high density CMOS integrated circuit. Its user-programmable array architecture is made up og three types of configurable elements:Input/Output blocks, logic blocks and interconnect.
Parametrics
XC2018-70PC84C absolute maximum ratings:(1)supply voltage relative to GND(Vcc) is -0.5 V to +7.0 V; (2)input voltage with respect to GND(VIN) is -0.5 V to Vcc+0.5 V; (3)voltage applied to 3-state output(VTS) is -0.5 V to Vcc+0.5 V; (4)storage temperature(ambient)(Tstg) is -65℃ to 150℃; (5)maximum soldering temperature(Tsol) is +260℃(10 s at 1/16 pin).The operating conditions of the XC2064 can be summarized as:(1): high level input voltage-TTL configuraiton(VIHT) is 2.0 V min and Vcc max; (2): low level input voltage-TTL configuration(VILT) is 0 V min and 0.8 V max; (3): high level input voltage-CMOS configuration(VIHC) is 70% Vcc min and 100% Vcc max; (4): low level input voltage-CMOS configuration(VILC) is 0 V min and 20% Vcc max; (5): input signal transition time(TIN) is 250 ns max.
Features
XC2018-70PC84C features:(1)fully field-programmable:I/O functions;digital logic functions; interconnections; (2)general-purpose array architecture; (3)complete user control of design cycle; (4)compatible arrays with logic cell complexity equivalent to 1200 and 1800 gates; (5)standard product availability; (6)100% factory-tested; (7)TTL or CMOS input thresholds; (8)complete development system support.
Diagrams

(Hong Kong)






